ГОСТ 33144-2014
МЕЖГОСУДАРСТВЕННЫЙ СТАНДАРТ. ДОРОГИ АВТОМОБИЛЬНЫЕ ОБЩЕГО ПОЛЬЗОВАНИЯ. ДОРОЖНЫЕ ЗЕРКАЛА. ТЕХНИЧЕСКИЕ ТРЕБОВАНИЯ
Automobile roads of general use. Traffic mirrors. Technical requirements
МКС 93.080.30
Дата введения 1 декабря 2015 года с правом досрочного применения
Введен в действие Приказом Федерального агентства по техническому регулированию и метрологии от 21 июля 2015 г. N 918-ст
Предисловие
Цели, основные принципы и порядок проведения работ по межгосударственной стандартизации установлены ГОСТ 1.0-92 "Межгосударственная система стандартизации. Основные положения" и ГОСТ 1.2-2009 Межгосударственная система стандартизации. Стандарты межгосударственные, правила и рекомендации по межгосударственной стандартизации. Правила разработки, принятия, применения, обновления и отмены
Сведения о стандарте
- РАЗРАБОТАН Федеральным государственным унитарным предприятием "Российский дорожный научно-технический институт" (ФГУП "РОСДОРНИИ") Министерства транспорта Российской Федерации, Межгосударственным техническим комитетом по стандартизации МТК 418 "Дорожное хозяйство"
- ВНЕСЕН Федеральным агентством по техническому регулированию и метрологии (Росстандарт)
- ПРИНЯТ Межгосударственным советом по стандартизации, метрологии и сертификации (протокол от 5 декабря 2014 г. N 46)
- Приказом Федерального агентства по техническому регулированию и метрологии от 21 июля 2015 г. N 918-ст межгосударственный стандарт ГОСТ 33144-2014 введен в действие в качестве национального стандарта Российской Федерации с 1 декабря 2015 г.
- ВВЕДЕН ВПЕРВЫЕ
Информация об изменениях к настоящему стандарту публикуется в ежегодном информационном указателе "Национальные стандарты", а текст изменений и поправок - в ежемесячном информационном указателе "Национальные стандарты". В случае пересмотра (замены) или отмены настоящего стандарта соответствующее уведомление будет опубликовано в ежемесячном информационном указателе "Национальные стандарты". Соответствующая информация, уведомление и тексты размещаются также в информационной системе общего пользования - на официальном сайте Федерального агентства по техническому регулированию и метрологии в сети Интернет
1. Область применения
Настоящий стандарт распространяется на дорожные зеркала (далее - зеркала), применяемые самостоятельно и в сочетании с другими элементами обустройства автомобильных дорог (далее - дорог) общего пользования с целью обеспечения обзорности участка дороги с ограниченной видимостью водителей транспортных средств и пешеходов и устанавливает общие технические требования к ним.
2. Нормативные ссылки
В настоящем стандарте использованы нормативные ссылки на следующие межгосударственные стандарты:
- ГОСТ 2.601-95 Эксплуатационные документы
- ГОСТ 9.307-89 Единая система защиты от коррозии и старения. Покрытия цинковые горячие. Общие требования и методы контроля
- ГОСТ 9.401-91 Единая система защиты от коррозии и старения. Покрытия лакокрасочные. Общие требования и методы ускоренных испытаний на стойкость к воздействию климатических факторов
- ГОСТ 12.1.044-89 (ИСО 4589-84) Пожаровзрывоопасность веществ и материалов. Номенклатура показателей и методы их контроля
- ГОСТ 515-77 Бумага упаковочная битумированная и дегтевая. Технические условия
- ГОСТ 3134-78 Уайт-спирит. Технические условия
- ГОСТ 3282-74 Проволока стальная низкоуглеродистая общего назначения. Технические условия
- ГОСТ 5959-80 Ящики из листовых древесных материалов неразборные для грузов массой до 200 кг. Общие технические условия
- ГОСТ 14192-96 Маркировка грузов
- ГОСТ 15151-69 Машины, приборы и другие технические изделия для районов с тропическим климатом. Общие технические условия
- ГОСТ 16337-77 Полиэтилен высокого давления. Технические условия
- ГОСТ 32945-2014 Дороги автомобильные общего пользования. Знаки дорожные. Технические требования
- ГОСТ 32948-2014 Дороги автомобильные общего пользования. Опоры дорожных знаков. Технические требования
Примечание - При пользовании настоящим стандартом целесообразно проверить действие ссылочных стандартов в информационной системе общего пользования - на официальном сайте Федерального агентства по техническому регулированию и метрологии в сети Интернет или по ежегодному информационному указателю "Национальные стандарты", который опубликован по состоянию на 1 января текущего года, и по выпускам ежемесячного информационного указателя "Национальные стандарты" за текущий год. Если ссылочный стандарт заменен (изменен), то при пользовании настоящим стандартом следует руководствоваться заменяющим (измененным) стандартом. Если ссылочный стандарт отменен без замены, то положение, в котором дана ссылка на него, применяется в части, не затрагивающей эту ссылку.
3. Термины, определения, обозначения и сокращения
3.1 В настоящем стандарте применены следующие термины с соответствующими определениями:
3.1.1 дорожное зеркало: Устройство, предназначенное для обеспечения в пределах угла обзора транспортного средства минимального расстояния видимости на участках дороги, на которых видимость ограничена расположенными на дороге сооружениями или особенностями рельефа местности.
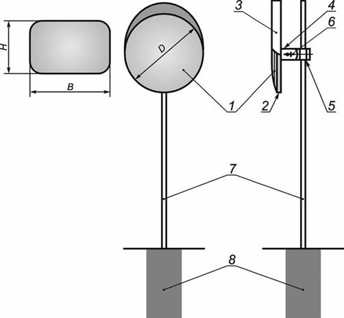
3.1.2 круглое дорожное зеркало: Выпуклое дорожное зеркало круглой формы (рисунок 1, а)).
3.1.3 прямоугольное дорожное зеркало: Выпуклое дорожное зеркало прямоугольной формы (рисунок 1, б)).

Рисунок 1 - Дорожные зеркала
3.1.4 окантовка зеркала: Цветографическое изображение, выполненное в виде полосы сигнального и контрастного цветов и предназначенное для информирования участников дорожного движения о месте расположения дорожного зеркала.
3.1.5 световозвращающий элемент: Полосы красного цвета из светоотражающих элементов, равномерно нанесенные по периметру внешней кромки корпуса зеркала по ГОСТ 32945.
3.1.6 фиксирующий элемент дорожного зеркала: Элемент, которым крепят зеркала к опоре.
3.1.7 кронштейн дорожного зеркала: Конструкция, служащая для крепления дорожного зеркала к опоре и обеспечивающая поворот и фиксацию зеркала под определенными углами в вертикальной и горизонтальной плоскостях при установке.
3.1.8 опора дорожного зеркала: Элемент, на который устанавливаются зеркала (бесконсольные стойки, опоры светильников наружного освещения, опоры пролетных строений искусственных сооружений, специальные опоры с консолями, опоры светильников наружного освещения с консолями, стены зданий с прикрепленными к ним консолями, рамные, состоящие из стоек и соединяющего их ригеля).
3.1.9 защитный козырек дорожного зеркала: Элемент зеркала, предназначенный для снижения паразитной солнечной засветки.
3.1.10 радиус кривизны отражателя: Радиус кривизны, измеренный по отражающей поверхности.
3.1.11 угол обзора (обзорность) дорожного зеркала: Конструктивное свойство зеркала, характеризующее объективную возможность и условия восприятия водителем или пешеходом визуальной информации, необходимой для обеспечения безопасности движения.
3.1.12 центр зеркала: Центр тяжести видимой зоны отражающей поверхности.
3.1.13 фокус отражателя: Расстояние от ее главного фокуса до ближайшей к нему главной точки.
3.1.14 коэффициент направленного отражения света: Отношение значения светового потока, отраженного от образца в заданном направлении, к значению светового потока, падающего на образец в заданном направлении, причем угол направления падающего потока равен углу направления отраженного потока.
3.2 В настоящем стандарте применены следующие сокращения и обозначения:
- ДЗК - дорожное зеркало круглое.
- ДЗП - дорожное зеркало прямоугольное.
- D - диаметр зеркала, мм.
- R - радиус кривизны отражателя, мм.
- H - высота прямоугольного дорожного зеркала, мм.
- B - ширина прямоугольного зеркала, мм.
- О - окантовка.
- К - козырек.
- Э - электрообогрев.
- t - толщина отражателя, мм.
- b - внешняя ширина корпуса, мм.
- α - угол обзора дорожного зеркала, град.
- l - длина световозвращающего элемента, мм.
- f - ширина световозвращающего элемента, мм.
- r - радиус закругления внутренней стороны светоотражающего элемента, мм.
- s - расстояние между световозвращающими элементами, мм.
4. Общие положения
4.1 Зеркала должны быть изготовлены в соответствии с требованиями настоящего стандарта, технических условий на зеркала конкретных видов по рабочим чертежам и технологической документации, утвержденным в установленном порядке.
5. Классификация, основные параметры и размеры
5.1 Зеркала в зависимости от формы подразделяют на:
- круглые;
- прямоугольные.
5.2 Зеркала в зависимости от конструкции могут быть в следующих исполнениях:
- без окантовки;
- с окантовкой (О);
- с козырьком (К);
- с электрообогревом (Э).
5.3 Зеркало состоит из корпуса с вмонтированным в него сферическим зеркальным отражателем (далее - отражатель), опорной части, кронштейна с шарнирами, при помощи которого корпус крепят к стойке опорной части и устанавливают в необходимом положении (рисунок 2).

1 - отражатель; 2 - корпус зеркала; 3 - козырек; 4 - кронштейн; 5 - шарнир горизонтальный; 6 - шарнир вертикальный; 7 - стойка; 8 - фундамент
Рисунок 2 - Общий вид и основные параметры зеркал
5.4 Форма, размеры и конструкция крепления кронштейна к опоре должны соответствовать согласованным и утвержденным в установленном порядке техническим условиям и конструкторской документации производителей продукции и договорам на поставку.
5.5 В зависимости от формы отражателя зеркала могут быть следующих типов, согласно значениям, приведенным в таблицах 1, 2 (рисунок 2, А.1).
Таблица 1
Типоразмеры круглых зеркал
| Типоразмер зеркала | I | II | III | IV |
| Диаметр отражателя, мм | 600 | 800 | 1000 | 1200 |
| Примечание - Предельно допустимое отклонение должно быть не менее +/- 2 мм. | ||||
Таблица 2
Типоразмеры прямоугольных зеркал
| Типоразмер зеркала | I | II | III |
| Высота и ширина отражателя, мм | 400 x 600 | 600 x 800 | 800 x 1000 |
| Примечание - Предельно допустимое отклонение должно быть не менее +/- 2 мм. | |||
5.6 Радиус кривизны отражателя для каждого варианта исполнения и типоразмера зеркала должен иметь значение, указанное в таблице 3.
Таблица 3
Варианты исполнения и радиус кривизны отражателя
| Основной вариант исполнения отражателя | Угол обзора, град | Средний радиус кривизны отражателя для различных типоразмеров зеркал, см <1> | |||
| I | II | III | IV | ||
| А | 40 | 173 | 230 | 288 | 346 |
| Б | 60 | 116 | 155 | 193 | 232 |
| В | 90 | 78 | 105 | 130 | 157 |
Примечания
|
|||||
Пример условного обозначения круглого дорожного зеркала с толщиной отражателя 5 мм, диаметром 800 мм, вариант исполнение А:
Дорожное зеркало круглое ДЗК - А - 5 x 800 ГОСТ
Примечание - В случае если отражатель зеркала оснащен электрообогревом (имеет окантовку или козырек), условное обозначение будет иметь соответственно следующий вид:
Дорожное зеркало круглое ДЗК - А - Э - 5 x 800 ГОСТ
Примечание - В случае отсутствия окантовки в условном обозначении буква не ставится.
6. Требования к дорожным зеркалам
6.1. Требования к отражательной способности
6.1.1 Зеркала должны иметь отражающее металлическое покрытие.
6.1.2 Коэффициент направленного отражения светоотражателя должен быть не менее 0,87.
6.1.3 Зеркала должны быть стойкими к воздействию ультрафиолетового излучения.
6.1.4 Отражатель должен быть стойким к воздействию соляного тумана по ГОСТ 15151.
6.2. Требования к конструкции
6.2.1 При отсутствии окантовки внешние размеры корпуса зеркал не должны превышать размеры отражателя более, чем на (25 +/- 5) мм.
Внешняя поверхность корпуса должна быть в одной плоскости с отражателем с отклонением не более чем на +/- 3 мм.
В корпусе зеркал допускается устройство электрообогрева, предупреждающего запотевание или обледенение лицевой поверхности отражателя. Устройство электрообогрева должно иметь рабочее напряжение 220 В 50 Гц или 12 В, потребляемую мощность 160 Вт, быть снабжено автоматическим отключением при достижении заданной температуры нагрева и иметь светодиодный индикатор функционирования.
Токоведущие части электроустановки не должны быть доступны для случайного прикосновения, а доступные прикосновению открытые и сторонние проводящие части не должны находиться под напряжением, представляющим опасность поражения электрическим током, как в нормальном режиме работы электроустановки, так и при повреждении изоляции.
Устройство электрообогрева должно иметь заземление.
6.2.2 В верхней части корпуса зеркал может располагаться козырек, защищающий отражатель от воздействия пыли и атмосферных осадков. Козырек у своего основания должен охватывать не менее 1/4 длины окружности круглого зеркала.
Ширина козырька определяется типоразмером зеркала, согласно таблице 4.
Таблица 4
Ширина козырька зеркала
| Типоразмер зеркала | I | II | III | IV |
| Ширина козырька не менее, мм | 50 | 60 | 70 | 80 |
6.2.3 Козырьки на зеркалах рекомендуется применять на зеркалах, устанавливаемых для дорог во II и III климатических зонах со значительным уровнем выпадения осадков в виде снега и дождя.
6.2.4 При отсутствии козырька на внешней кромке корпуса зеркала устраивается окантовка с равноразнесенными по периметру красными световозвращающими элементами. Данные элементы должны иметь закругления.
Ширина корпуса зеркала и размеры световозвращающих элементов окантовки с радиусом закругления световозвращающих элементов определяются в зависимости от типоразмера и формы зеркала в соответствии со значениями, указанными в таблицах 5, 6 и приложении Б.
Таблица 5
Значения ширины корпуса зеркала и размеры световозвращающих элементов круглых зеркал
| Типоразмер зеркала | Внешняя ширина корпуса, b, мм | Длина красной полосы окантовки, l, мм | Ширина красной полосы окантовки, f, мм | Радиус закругления внутренней стороны светоотражающего элемента, r, мм | Расстояние между красными полосами, s, мм |
| I | 30 | 134 | 20 | 3,5 | 134 |
| II | 40 | 178 | 30 | 5,5 | 178 |
| III | 50 | 223 | 40 | 7,0 | 223 |
| IV | 60 | 266 | 50 | 9,0 | 266 |
| Примечание - Предельно допустимое отклонение размеров должно быть не менее +/- 0,5 мм. | |||||
Таблица 6
Значения ширины корпуса зеркала и размеры световозвращающих элементов прямоугольных зеркал
| Типоразмер зеркала | Внешняя ширина корпуса, b, мм | Длина красной полосы окантовки, l, мм | Ширина красной полосы окантовки, f, мм | Радиус закругления внутренней стороны светоотражающего элемента, r, мм | Расстояние между красными полосами, s, мм |
| I | 30 | 45 | 20 | 3,5 | 45 |
| II | 40 | 53 | 30 | 5,5 | 53 |
| III | 50 | 60 | 40 | 7,0 | 60 |
| Примечание - Предельно допустимое отклонение размеров должно быть не менее +/- 0,5 мм. | |||||
6.2.5 Корпус зеркала должен обеспечивать защиту отражателя от механических повреждений при его эксплуатации и предотвращение попадания воды вовнутрь корпуса при воздействии дождя интенсивностью 5 и более мм/мин.
6.2.6 Конструкция кронштейна должна обеспечивать:
- крепление корпуса зеркала в сборе с зеркалом должно выдерживать ветровые нагрузки, соответствующие климатическому району установки в соответствии с приложением В;
- поворот корпуса зеркала при его монтаже в горизонтальной плоскости на угол не менее (90 +/- 5)° и в вертикальной плоскости на угол не менее (10 +/- 2)°.
6.2.7 Опорная часть зеркала состоит из стойки круглого сечения и фундамента, в котором закреплена стойка.
Конструкция опорной части должна обеспечивать устойчивость зеркала при расчетной ветровой нагрузке, приходящейся на его поверхность, в соответствии с приложением Б, а также обеспечивать сохранность зеркала при проведении работ по его содержанию (мойке, чистке).
Стойку опорной части изготавливают из стальных водогазопроводных труб по ГОСТ 32948.
Размеры стоек опорной части зеркал в зависимости от типоразмера зеркала должны соответствовать значениям таблицы 7.
Таблица 7
Размеры стоек опорной части зеркал в зависимости от типоразмера зеркала
| Типоразмер зеркала | Диаметр стойки, мм | Толщина стенки стойки, мм | Высота стойки, мм |
| I | 75,5 | 4,0 | 3600 |
| II | 75,5 | 4,0 | 4000 |
| III | 88,5 | 4,0 | 4400 |
| IV | 101,3 | 4,0 | 4600 |
| Примечание - Приведенные размеры стоек соответствуют типоразмерам круглых и прямоугольных зеркал. Диаметр и толщина стенки стоек из труб даны для районов Ia, I, II и III по величине ветрового давления. Для других районов размеры стоек определяют методом расчета. | |||
Минимальное заглубление фундамента (глубину приямка) опорной части зеркал в зависимости от типоразмера зеркала принимают по таблице 8.
Таблица 8
Значения заглубления фундамента
| Типоразмер зеркала | Заглубление фундамента, мм |
| I | 600 |
| II | 900 |
| III | 1200 |
| IV | 1500 |
6.2.8 Зеркала и их конструктивные элементы должны обладать стойкостью к воздействию агрессивных сред (коррозии), скорость которой должна составлять не более 0,01 - 0,05 мм/год и климатических факторов, к воздействию соляного тумана.
6.2.9 Зеркала и их конструктивные элементы должны выдерживать рабочий диапазон температур от минус 40 °C до плюс 60 °C.
6.2.10 Корпус зеркала должен быть изготовлен из цветного пластика и не окрашиваться.
Кронштейн и стойка опорной части должны быть окрашены в серый цвет (за исключением оцинкованных).
6.2.11 Металлические элементы конструкций зеркал (болты, гайки и шайбы и др.) должны быть изготовлены из коррозионно-стойких материалов и быть оцинкованы в соответствии с ГОСТ 9.307 и ГОСТ 9.401.
6.2.12 Конструкция зеркала должна обеспечивать возможность замены вышедших из строя элементов без демонтажа его опорной части и удобство обслуживания в процессе эксплуатации.
6.2.13 На стойке опорной части размещают один отражатель. Не допускается размещать на стойке дорожные знаки.
6.3. Требования к материалам
6.3.1 Отражатель должен быть изготовлен из металлической полированной основы или путем напыления металла (алюминия) на полимерную основу в вакууме с нанесением антикоррозийного покрытия.
6.3.2 Материалы, из которых изготавливают элементы зеркала, не должны выделять токсичные вещества в опасных для здоровья людей концентрациях и быть стойкими к воздействию кислотных сред по ГОСТ 12.1.044.
6.3.3 На отражателе не должно быть царапин, вмятин, пропусков, заусенцев, сколов и пр. дефектов отражающей поверхности.
6.4. Требования к содержанию
6.4.1 Поверхность зеркала должна быть чистой, не иметь загрязнений и каких-либо посторонних включений.
6.4.2 Очистку загрязненной поверхности зеркала необходимо выполнять водными растворами моющих средств, разрешенных документацией завода-изготовителя с применением мягких губок, щеток и безворсовой ветоши, смоченной спиртосодержащими составами для протирки стекол.
Примечание - В случае сильного загрязнения поверхности зеркала применяют уайт-спирит по ГОСТ 3134.
6.4.3 Периодичность работ по очистке и регулировке установки зеркал должна быть не реже, чем один раз в две недели.
6.5. Требования к комплектности
6.5.1 Зеркала должны поставляться в комплекте с фиксирующими элементами с сопроводительной документацией производителя, содержащей:
- декларацию соответствия или сертификат соответствия конструкции требованиям настоящего стандарта;
- паспорт с основными характеристиками зеркала;
- инструкцию по монтажу и эксплуатации;
- правила техники безопасности, правила транспортирования и хранения;
- санитарно-эпидемиологическое заключение о соответствии изделия санитарным правилам, подтверждающее экологическую (гигиеническую) безопасность материалов, из которых сделано изделие (для полимерных материалов).
6.6. Требования к маркировке, техническому паспорту и упаковке
6.6.1 Маркировку зеркала наносят на обратную сторону корпуса в виде таблички, выполненной краской белого или желтого цвета, в которую вносят маркирующие надписи черного цвета в соответствии с ГОСТ 14192.
6.6.2 Маркировка содержит следующие данные:
- наименование продукции;
- наименование предприятия-изготовителя;
- дату изготовления;
- обозначение настоящего стандарта;
- надпись "дата установки..." со свободным полем, на которое во время установки зеркала несмываемым маркером черного цвета наносят дату установки зеркала;
- единый знак доступа на рынок государств - членов Таможенного союза.
6.6.3 Готовые зеркала пакуются в количестве не более 4 шт. в одной упаковке, при этом корпуса в сборе с отражателями, кронштейны с деталями крепления и стойки опорной части должны быть упакованы отдельно.
6.6.4 Корпуса в сборе с отражателями и кронштейны с деталями крепления заворачивают в дегтевую оберточную бумагу по ГОСТ 515 и укладывают в фанерные ящики по ГОСТ 5959.
Допускается корпуса в сборе с отражателями и кронштейны с деталями крепления заворачивать в воздушно-пузырчатую пленку типа Д 75/10, 1,2*100.
6.6.5 Стойки опорной части связывают вязальной проволокой по ГОСТ 3282 и заворачивают в дегтевую оберточную бумагу по ГОСТ 515 или полиэтилен по ГОСТ 16337.
6.6.6 Допускается использовать другие виды упаковок и прокладочных материалов, обеспечивающих сохранность изделий от механических повреждений во время транспортирования и хранения.
При размещении нескольких зеркал в одной упаковке между ними следует оставлять свободное пространство. На упаковку корпусов рекомендуется наносить надписи по ГОСТ 14192, предупреждающие о возможности повреждения содержимого при неправильном транспортировании и хранении.
6.6.7 Маркировку транспортной тары осуществляют по ГОСТ 14192.
6.6.8 Технический паспорт на зеркала должен содержать (ГОСТ 2.601-95):
- основные технические характеристики;
- комплектность;
- сроки службы и хранения;
- гарантии изготовителя (поставщика);
- сведения о консервации;
- сведения об упаковывании;
- свидетельство о приемке;
- заметки по эксплуатации и хранению;
- сведения об утилизации.
6.6.9 Заметки по эксплуатации и хранению должны содержать:
- сведения о взаимозаменяемости с ранее выпущенными модификациями изделия;
- перечень особых мер безопасности при работе;
- требования к проверке перед установкой;
- перечень особых условий эксплуатации.
6.7. Требования к транспортированию и хранению
6.7.1 При транспортировании и хранении зеркал должны соблюдаться требования, устанавливаемые предприятием-изготовителем в сопроводительной документации на изделие и указанные в маркировке.
6.7.2 При транспортировании зеркал должна быть обеспечена водонепроницаемость их поверхности.
В процессе транспортирования должна быть исключена возможность перемещения контейнеров или ящиков в транспортном средстве.
6.7.3 Зеркала хранят в сухих закрытых и проветриваемых помещениях. Корпуса зеркал с отражателями хранят в вертикальном положении. В помещениях для хранения не должно быть химических веществ, вызывающих коррозию металла.
6.7.4 Условия хранения и транспортирования зеркал в части воздействия климатических факторов - по группе условий хранения ОЖ 4 ГОСТ 15150.
6.8. Требования к гарантии изготовителя
6.8.1 Изготовитель должен гарантировать соответствие зеркал требованиям настоящего стандарта при соблюдении условий транспортирования, хранения и эксплуатации.
6.8.2 Гарантийный срок для зеркал составляет два года со дня их выпуска.
Приложение А
(справочное)
ОПРЕДЕЛЕНИЕ РАДИУСА КРИВИЗНЫ ОТРАЖАТЕЛЯ ЗЕРКАЛА
А.1 Общие положения
Данное приложение определяет методику вычисления радиуса кривизны отражателя зеркала.
А.2 Принимаемые параметры
Параметры, используемые при вычислении, соответствуют значениям для дорожных зеркал 3.2 настоящего стандарта и приведены на рисунке А.1.

F - точка фокуса отражателя; O - точка центра
тяжести зеркала
Рисунок А.1 - Расчетная схема определения радиуса кривизны зеркала
А.3 Пример расчета
Зависимость между диаметром отражателя, его радиусом кривизны и углом обзора имеет вид (А.1):

(А.1)
Для установления типоразмера зеркала определяют радиус кривизны отражателя в зависимости от его диаметра и угла обзора (А.2):

(А.2)
Если отражатель имеет диаметр отражателя 800 мм, угол обзора зеркала - 90°, а отношение
в радианах имеет значение 0,39, то радиус кривизны
отражателя должен составлять (А.3):

(А.3)
Приложение Б
(обязательное)
ЦВЕТОГРАФИЧЕСКОЕ ИЗОБРАЖЕНИЕ И РАЗМЕТКА ОКАНТОВКИ ЗЕРКАЛА
Б.1 Общие положения
Данное приложение определяет порядок цветографического изображения окантовки зеркал.
Световозвращающая окантовка предназначена для усиления зрительного восприятия зеркал на окружающем фоне и в условиях темного времени суток.
Б.2 Цветографическое изображение окантовки зеркал
Окантовка зеркала должна быть белого цвета и иметь равномерно нанесенные световозвращающие элементы красного цвета по внешнему краю корпуса зеркала (рисунок Б.1).
а) для круглых зеркал

б) для прямоугольных зеркал

1 - окантовка; 2 - световозвращающий элемент окантовки; 3 - отражатель зеркала
Рисунок Б.1 - Цветографическое изображение полос сигнального и контрастного цветов на окантовке зеркал в соотношении ее размеров со светоотражающими элементами
Ширина окантовки зависит от типоразмера и формы зеркала и определяется соответственно для круглых и прямоугольных типов зеркал по следующим формулам (Б.1) и (Б.2):
b = 0,05D (Б.1)
b = 0,05B (Б.2)
Длину световозвращающего элемента окантовки зеркала круглого типа определяют по следующей формуле (Б.3):
(Б.3), где
- угловой размер световозвращающего элемента,
град.
Длину световозвращающего элемента окантовки зеркала прямоугольного типа определяют по следующей формуле (Б.4):
(Б.4)
Угловой размер световозвращающего элемента должен быть не менее (12,8 +/- 2)°.
Примечание - В случае необходимости изменения углового размера его значение должно быть кратным количеству световозвращающих элементов (Б.5):
(Б.5), где n - количество световозвращающих элементов
красно-белого цвета, шт.
Расстояния между внешней (внутренней) кромкой окантовки до внешнего края корпуса зеркала (отражателя) должно быть (5 +/- 1) мм.
Приложение В
(обязательное)
ТРЕБОВАНИЯ К ВЕТРОВОЙ НАГРУЗКЕ
В.1 Общие положения
Данное приложение определяет предельно допустимые значения ветровой нагрузки в зависимости от ветрового района государств - членов Таможенного союза и стран - участниц Соглашения.
В.2 Требования к ветровой нагрузке
Предельно допустимое давление ветровой нагрузки для определенного ветрового района (рисунок В.1) должно соответствовать значениям, приведенным в таблице В.1.

Рисунок В.1 - Карта районирования территории Российской Федерации, Республики Беларусь и Республики Казахстан и стран - участниц Соглашения по давлению ветра
Таблица В.1
Значениядавления ветровой нагрузки
| Ветровые районы государств - членов Таможенного союза и стран - участниц Соглашения | Ia | II | III | IV | V | VI | VII | VIII |
| Давление ветровой нагрузки, Н/м2 | 170 | 230 | 300 | 380 | 480 | 600 | 730 | 850 |


